Компания Apple запатентовала инновационную технологию, описывающую встроенную систему безопасности для iPhone, препятствующую использованию мобильным телефоном посторонними людьми. Данная система базируется на основе датчика, учитывающего особенности сердечного ритма.

Вместо биометрических сканеров отпечатков пальцев, систем распознавания голоса, сетчатки глаз или лица разработчики предлагают совершенно новый способ уберечь ваш телефон и хранимую на нем информацию от посторонних глаз. Благодаря разработанной системе аппарат будет узнавать своего хозяина по биению сердца: достаточно просто взять iPhone в руки и он безо всяких паролей и дополнительных операций откроет владельцу доступ к телефону.
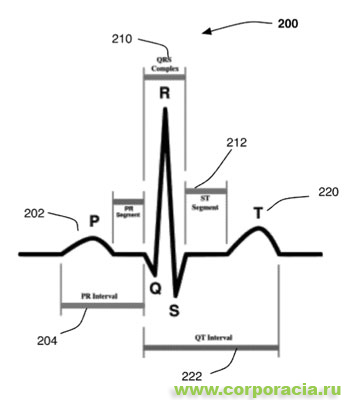
Разумеется для полноценной работы системы необходимо осуществить первоначальный ввод данных, описывающий особенности сердечного ритма конкретного пользователя. Снятие требуемых параметров (зубцов P, Q, R, S и T, волны U, комплекса QRS и сегмента ST) будет происходить с использованием металлическим компонентам iPhone.


Авторские права статей защищены в соответствии с законом об авторском праве. Использование материалов в Интернете и в печатных изданиях возможно только с указанием ГИПЕРССЫЛКИ на портал
Корпорация Связи (Корпорация.ру).